Introduction
Imagine cruising down a snowy mountain road, when suddenly the conditions change and you need better traction. Instead of pulling over to swap tires, a simple button press on your dashboard deploys retractable studs, giving you Bond-like adaptability. Welcome to the future of tire technology.
Retractable stud tires are not just a concept from spy movies anymore. They're becoming a reality, promising to revolutionize winter driving by offering unparalleled safety, performance, and convenience. According to The Autopian, these tires are now available for purchase, bringing innovative solutions to winter driving challenges.
TL; DR
- Enhanced Safety: Retractable stud tires improve traction in icy conditions without permanent road damage.
- Convenience: Switch between studded and regular tires at the push of a button.
- Environmental Impact: Reduced wear on roads compared to traditional studded tires.
- Future Trends: AI integration for automatic deployment based on sensor data.
- Cost Considerations: Initial high costs may decrease with wider adoption.


The adoption of AI and sensor-integrated tires is expected to grow significantly, reaching 65% by 2030. Estimated data based on current technology trends.
Understanding Retractable Stud Tires
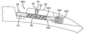
Retractable stud tires are an innovative solution designed to provide optimal traction in varying road conditions. Unlike traditional studded tires, which have metal studs permanently embedded, retractable systems allow drivers to deploy or retract studs as needed.
What Makes Them Work?
The core technology involves a mechanism within the tire that extends or retracts metal studs. This is typically controlled by an electronic system connected to the car's onboard computer, allowing for seamless operation.
- Mechanism: Uses hydraulic or pneumatic systems to extend/retract studs.
- Control: Integrated with the car's dashboard controls.
- Feedback: Sensors provide real-time road condition data to optimize stud deployment.


Retractable stud tires have higher installation costs but offer better safety and less road wear compared to traditional tires. (Estimated data)
The Benefits of Retractable Stud Tires
Safety and Performance
The primary advantage of retractable stud tires is enhanced safety. By improving grip on icy and snowy roads, these tires significantly reduce the risk of skidding and accidents. As noted by The Autopian, these tires offer instant deployment for optimal grip, making them suitable for rapidly changing weather conditions.
Environmental Considerations
Permanent studded tires can cause significant road wear, leading to costly repairs and environmental damage. Retractable studs minimize these effects by limiting their use to necessary situations.
- Reduced Road Damage: Retracts when not needed, preserving road integrity.
- Noise Reduction: Less noise pollution compared to permanent studs.

Implementation: How To Get Started
Choosing the Right System
When selecting retractable stud tires, consider the following factors:
- Vehicle Compatibility: Ensure your car’s make and model support the technology.
- Usage Patterns: Assess how often you drive in conditions requiring studs.
- Budget: While initial costs are higher, savings on road maintenance and increased safety can justify the expense.
Installation and Maintenance
- Professional Installation: Recommended to ensure proper setup and integration with vehicle systems.
- Regular Checks: Inspect the mechanism regularly for wear and tear.


Studded tires contribute significantly to road maintenance costs, accounting for an estimated $10 million annually in some snowy regions.
Common Pitfalls and Solutions
Mechanical Failures
While the technology is robust, mechanical failures can occur. Regular maintenance and choosing a reputable brand can mitigate these risks.
- Solution: Routine inspections and immediate repairs of any faulty components.
Cost Concerns
The high initial cost can be a barrier for some drivers. However, financing options and potential long-term savings on road repairs can offset this.
- Solution: Explore financing plans or wait for price reductions as adoption increases.
Future Trends in Tire Technology
AI and Sensor Integration
The next evolution in retractable stud tires will likely involve AI and sensor technology, allowing tires to automatically adjust based on real-time road conditions. The Autopian highlights how sensors can detect ice or slippery conditions and deploy studs automatically, while AI analyzes driving patterns to optimize tire performance.
Market Expansion
As technology advances, expect to see retractable stud tires become more affordable and widely available, potentially becoming the norm in regions with harsh winters.
- Global Reach: Expansion into new markets as infrastructure adapts.
- Decreasing Costs: Economies of scale will reduce manufacturing and consumer costs.

Conclusion
Retractable stud tires represent a significant leap forward in tire technology, offering a blend of convenience, safety, and environmental benefits. While they currently come at a premium, the potential for cost savings and increased road safety make them an attractive option for many drivers. As the technology matures, we can expect broader adoption and continued innovation, making these tires a staple for winter driving.
FAQ
What are retractable stud tires?
Retractable stud tires are advanced tires with metal studs that can be extended or retracted as needed to provide better traction on icy or snowy roads.
How do retractable stud tires work?
They use a mechanism within the tire to deploy studs, controlled electronically from the vehicle's dashboard, often with real-time feedback from sensors.
What are the benefits of retractable stud tires?
They offer improved safety, reduced road damage, and adaptability to changing road conditions, making them ideal for areas with harsh winters.
Are retractable stud tires expensive?
Initially, yes, but the cost is expected to decrease with wider adoption and technological advancements.
Can I install retractable stud tires on any vehicle?
Compatibility depends on the vehicle make and model, so it's essential to check with the manufacturer or a professional installer.
How do I maintain retractable stud tires?
Regular maintenance includes checking the mechanical systems for wear and tear and ensuring proper operation of the stud deployment mechanism.
How do retractable stud tires impact the environment?
They cause less road damage and noise pollution compared to permanent studded tires, offering a more environmentally friendly option.
What is the future of retractable stud tires?
Future developments may include AI integration for automatic stud deployment based on sensor data and broader accessibility as costs decrease.
The Best Tire Technology at a Glance
| Feature | Traditional Studs | Retractable Studs |
|---|---|---|
| Traction | Excellent on ice | Excellent on ice |
| Road Damage | High | Low |
| Noise | High | Low |
| Adaptability | None | High |
| Cost | Lower initial | Higher initial |
Quick Navigation:
- What are retractable stud tires?
- How do retractable stud tires work?
- Benefits of retractable stud tires
- Installation and Maintenance Tips
Key Takeaways
- Enhanced Safety: Provides better traction in winter conditions.
- Environmental Impact: Less road damage and noise pollution.
- Future Trends: AI and sensor integration for automatic deployment.
- Cost Considerations: Initial high costs may decrease with adoption.
- Market Expansion: Expected to grow as technology advances.
- Convenience: Easy to switch between studded and regular modes.

Final Thoughts
Retractable stud tires are poised to transform winter driving, offering a blend of innovation and practicality. As technology progresses, these tires will likely become more common, helping drivers everywhere live out their Bond fantasies with a simple button press.

Related Articles
- Exploring X's Standalone X Chat App on iOS: What You Need to Know [2025]
- AI in 2026: From Growing Pains to Revolutionary Gains [2026]
- The Unihertz QWERTY Revival: A Modern Take on Classic Blackberry Features [2025]
- Mastering Home Networking with the Asus ROG Wi-Fi 6E Router [2025]
- GoPro's Next Cameras Feature a Revolutionary New Chip [2025]
- Unleashing the Power of GMKtec NucBox K13 Mini PC [2025]
![Live Your Bond Fantasies: The Future of Retractable Stud Tires [2025]](https://tryrunable.com/blog/live-your-bond-fantasies-the-future-of-retractable-stud-tire/image-1-1772557604086.jpg)


