Six Fascinating Science Stories You Might Have Missed [2025]
Look, science is full of surprises. Every month, researchers across the globe push the boundaries of what's possible, often with results that are as unexpected as they are innovative. Here, we've rounded up six intriguing science stories that you might have missed, each offering a unique glimpse into the future.
TL; DR
- Edison's Battery Reborn: A forgotten battery design is making waves in renewable energy storage.
- Smart Underwear: A new device turns everyday garments into health monitors.
- Neurons Playing Doom: Brain cells take on video games, revealing insights into neural networks.
- AI and Ancient Games: Artificial intelligence uncovers the rules of forgotten games.
- Quantum Computing Breakthroughs: Advances in qubit technology could revolutionize computing.
- Space Farming: Growing food in space is becoming more feasible.


Neural adaptability and research potential are the most significant features in the neuron-Doom experiment, highlighting its potential impact on neuroscience and AI. Estimated data.
The Rebirth of Edison's Battery Design
Thomas Edison, a name synonymous with innovation, might be making a comeback in the field of renewable energy. Researchers are revisiting his nickel-iron battery design, originally developed over a century ago.
What It Is
The nickel-iron battery, conceived by Edison in the early 1900s, is known for its durability and ability to withstand long charge cycles. While it never gained mass popularity due to its low energy density compared to lead-acid batteries, it is now being re-evaluated. According to a recent study, this battery type is being considered for its potential in renewable energy storage due to its robustness and longevity.
Key Features:
- Durability: Lasts for decades with minimal degradation.
- Safe: Non-toxic and resistant to overcharging.
- Sustainable: Uses abundant, non-toxic materials.
Real-World Use Case
In the context of renewable energy, this battery's resilience and longevity could reduce the environmental impact of battery disposal. As noted by the U.S. Department of Energy, sustainable energy storage solutions are critical for future energy systems.
Pricing Context
Modern adaptations of this battery could offer a cost-effective alternative to lithium-ion batteries, which are resource-intensive. Bloomberg reports that innovations in battery technology are driving down costs, making such alternatives more viable.
Honest Assessment
While promising, the challenge remains to increase its energy density to compete with newer technologies. Nature Energy highlights the ongoing research needed to enhance the performance of nickel-iron batteries.


Recent breakthroughs show significant advancements in qubit stability, scalability, and computational power, marking a step closer to practical quantum computing. Estimated data based on current trends.
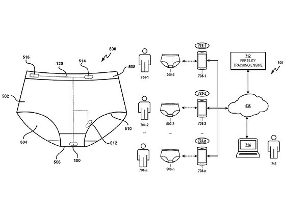
Smart Underwear: Health Monitoring Reimagined
Forget wearables—researchers have developed a snap-on device that transforms your boxers into "smart underwear," capable of monitoring various health metrics.
What It Does
This device measures bodily functions such as flatulence in real time, offering insights into digestive health and dietary impacts. According to Scientific American, this innovation represents a new frontier in personal health monitoring.
Key Features:
- Real-time Monitoring: Tracks and logs data continuously.
- Non-Invasive: Comfortable and discreet.
- Data Insights: Provides actionable health recommendations.
Real-World Use Case
For individuals with digestive disorders, this technology offers a non-intrusive way to monitor their condition over time. Healthline notes the potential benefits of continuous health monitoring for managing chronic conditions.
Pricing Context
Expected to be affordable, making it accessible for everyday users. Forbes discusses how advancements in wearable technology are driving down costs, increasing accessibility.
Honest Assessment
Privacy concerns and data security must be addressed before widespread adoption. Wired emphasizes the importance of addressing these issues to ensure user trust.

Neurons Playing Doom
In a groundbreaking experiment, scientists have managed to get a dish of neurons to play the classic video game Doom.
What It Is
Using a setup that mimics a neural network, researchers have trained brain cells to interact with a digital environment. As reported by Nature, this experiment offers new insights into the adaptability of neural networks.
Key Features:
- Neural Adaptability: Cells demonstrate learning and adaptation.
- AI Integration: Combines biological and artificial intelligence.
- Research Potential: Offers insights into brain function and artificial intelligence.
Real-World Use Case
This research could lead to advances in neuroprosthetics and brain-computer interfaces. ScienceDirect highlights the potential applications of such technology in medical fields.
Pricing Context
Currently experimental, but future applications could be cost-effective in medical technology. According to BBC News, the cost of developing brain-computer interfaces is expected to decrease as the technology matures.
Honest Assessment
The integration of biological and artificial systems is promising but still in its infancy. MIT Technology Review discusses the challenges and potential of this emerging field.


Real-time monitoring and non-invasive design are the most valued features of smart underwear, while privacy concerns need addressing. Estimated data based on typical user priorities.
AI Discovers Ancient Game Rules
In a fascinating fusion of AI and archaeology, researchers have used artificial intelligence to uncover the rules of long-forgotten games.
What It Is
By analyzing game boards and pieces, AI can hypothesize the rules and objectives of ancient games. Archaeology Magazine reports on how AI is revolutionizing the study of ancient cultures.
Key Features:
- Pattern Recognition: Identifies patterns in game artifacts.
- Historical Insight: Provides a window into ancient cultures.
- Cultural Preservation: Helps preserve and revive lost games.
Real-World Use Case
This could revolutionize fields like archaeology and anthropology, offering new methods for cultural analysis. National Geographic explores the impact of AI on cultural preservation.
Pricing Context
AI-based analysis is becoming more affordable, making such projects feasible for academic institutions. The Verge discusses how decreasing costs are enabling more widespread use of AI in research.
Honest Assessment
While AI offers new insights, human interpretation remains crucial to validate findings. Scientific American emphasizes the need for collaboration between AI and human expertise.

Quantum Computing Breakthroughs
Quantum computing has been a buzzword for years, but recent breakthroughs in qubit technology might finally bring it to the mainstream.
What It Is
Advances in qubit stability and coherence times are paving the way for practical quantum computers. IBM Research highlights the latest advancements in this field.
Key Features:
- Increased Stability: New materials improve qubit coherence.
- Scalability: Progress in error correction supports larger systems.
- Computational Power: Potentially solves problems beyond classical computing capabilities.
Real-World Use Case
Quantum computers could revolutionize fields such as cryptography, materials science, and complex simulations. Nature discusses the potential applications of quantum computing in various industries.
Pricing Context
While still expensive, costs are expected to decrease as technology matures. Forbes predicts that as the technology becomes more widespread, prices will become more competitive.
Honest Assessment
Theoretical potential is high, but practical implementations are still a few years away. MIT Technology Review provides an overview of the current state and future prospects of quantum computing.
Space Farming: The Next Frontier
As humanity looks to colonize other planets, growing food in space is becoming a critical area of research.
What It Is
Researchers are developing methods to cultivate crops in extraterrestrial environments, using hydroponics and artificial lighting. NASA is at the forefront of this research, exploring sustainable solutions for space missions.
Key Features:
- Self-Sufficiency: Reduces reliance on Earth-supplied resources.
- Sustainability: Supports long-term missions and colonization.
- Innovation: Drives agricultural innovations that could benefit Earth.
Real-World Use Case
NASA and private companies are investing in technologies to support future Mars missions. SpaceX is actively involved in developing technologies for sustainable space farming.
Pricing Context
Initial costs are high, but long-term benefits could outweigh expenses. Bloomberg discusses the economic implications of investing in space agriculture.
Honest Assessment
Challenges include establishing stable ecosystems and dealing with space radiation. Scientific American outlines the hurdles that need to be overcome for successful space farming.

Conclusion
These stories represent just a fraction of the innovative research happening in science today. From reviving old technologies for new purposes to pushing the boundaries of AI and space exploration, the future is filled with possibilities. Each of these stories not only highlights the genius of human innovation but also the potential for technology to improve our world in unexpected ways.

FAQ
What is Edison's battery design?
Edison's nickel-iron battery is a durable, non-toxic energy storage device initially overshadowed by lead-acid batteries. Its revival could impact renewable energy storage.
How does smart underwear work?
Smart underwear uses a snap-on device to monitor health metrics in real time, offering insights into digestive health through non-invasive technology.
What are the benefits of neurons playing Doom?
This experiment offers insights into neural adaptability and integration with AI, potentially advancing neuroprosthetics and brain-computer interfaces.
How does AI uncover ancient game rules?
AI analyzes patterns in game artifacts to hypothesize rules, providing historical insights and helping preserve cultural heritage.
What breakthroughs are happening in quantum computing?
Recent advances in qubit technology improve stability and scalability, bringing practical quantum computing closer to reality.
Why is space farming important?
Space farming supports long-term missions and colonization efforts, reducing reliance on Earth-supplied resources and driving agricultural innovation.

Key Takeaways
- Edison's battery design could revolutionize renewable energy storage.
- Smart underwear offers a new frontier in health monitoring.
- Neurons playing Doom demonstrate neural network adaptability.
- AI is uncovering ancient game rules, enhancing cultural understanding.
- Quantum computing breakthroughs bring practical applications closer.
- Space farming is essential for long-term extraterrestrial missions.
Related Articles
- Sony's $2.7 Billion Antitrust Lawsuit in the UK: Implications and Future Outlook [2025]
- The Data Centers Have Arrived at the Edge of the Arctic Circle | WIRED
- Exploring Lenovo’s AI-Driven Robot Arm Concept with Puppy Dog Eyes [2025]
- What Happens if Iran Shuts Down the Strait of Hormuz in 2025?
- 'No Ethics at All': Behind the Growing 'Cancel ChatGPT' Trend [2025]
- How Smartphones Could Soon Use Radar Technology to Detect Hidden Dangers [2025]
![Six Fascinating Science Stories You Might Have Missed [2025]](https://tryrunable.com/blog/six-fascinating-science-stories-you-might-have-missed-2025/image-1-1772464009787.jpg)


