Apple's Foldable iPhone: Engineering Challenges and Future Outlook [2025]
Apple's foray into the foldable smartphone market has hit a significant snag. Despite the hype and anticipation, recent reports suggest that the company's first foldable iPhone is facing delays due to engineering challenges. This comprehensive article explores the intricacies of foldable smartphone technology, the specific hurdles Apple is encountering, potential solutions, and the broader implications for the mobile industry.
TL; DR
- Engineering Snags: Apple's foldable iPhone faces delays due to complex mechanical and software challenges, as reported by Reuters.
- Supply Chain Impact: Component suppliers have been notified of the production schedule delay, according to Tech in Asia.
- Market Implications: Delays could affect Apple's competitive position in the foldable market, as discussed in CNET's analysis.
- Potential Solutions: Advanced materials and hinge technology may offer solutions, highlighted by Mashable.
- Industry Trends: Foldable technology is expected to grow, with new entries anticipated, as noted by Android Authority.


Foldable phones are expected to see significant adoption growth, reaching an estimated 55% by 2028 as technology matures and new use cases emerge. (Estimated data)
Understanding Foldable Technology
Foldable smartphones represent a significant innovation in mobile technology, offering users a blend of compactness and expanded screen real estate. The concept revolves around flexible display technology, which allows the device to fold without compromising screen integrity.
Key Components of Foldable Phones
- Flexible Displays: These are primarily made from OLED (Organic Light-Emitting Diode) panels, allowing them to bend and fold. The challenge lies in maintaining display quality and durability, as noted by Wired.
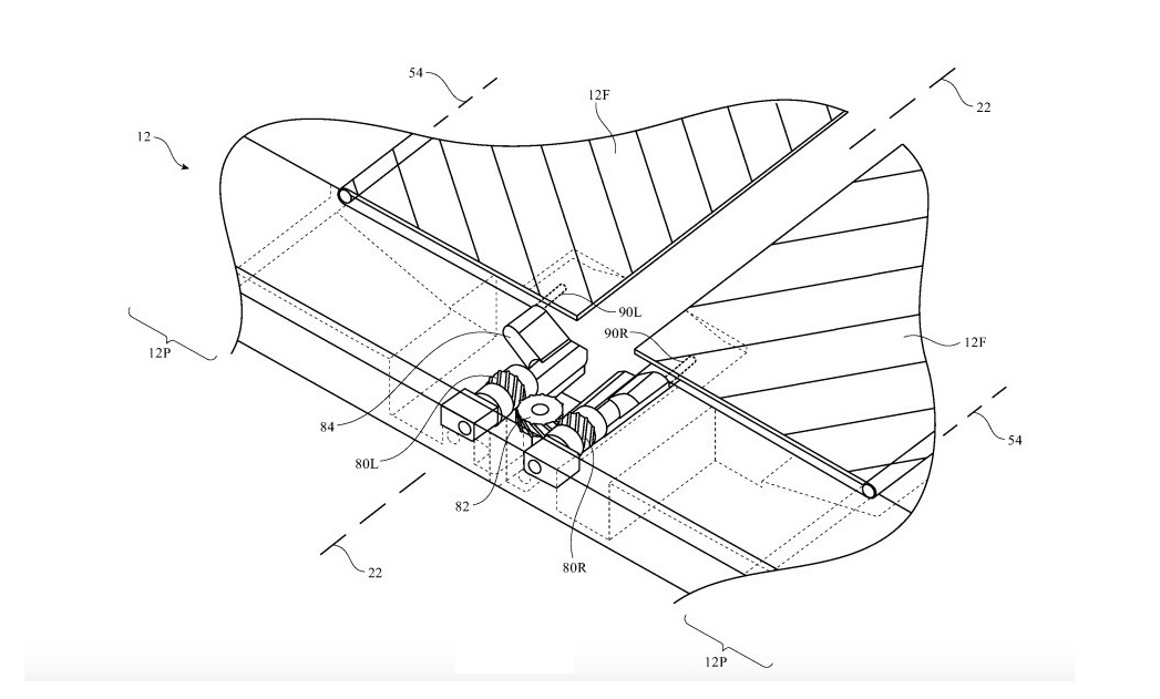
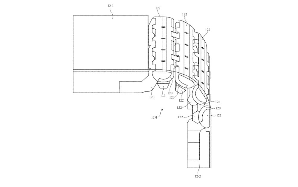
- Hinge Mechanism: A critical component that enables the folding action. It must be robust enough to withstand thousands of folds without wearing out, as detailed in Tech Times.
- Battery Adaptations: Foldable phones often require dual-battery systems to maintain power distribution across the device.
- Software Optimization: Custom software solutions are needed to manage transitions between folded and unfolded modes seamlessly.


Creating a durable display and hinge mechanism are the most significant challenges in developing a foldable iPhone. (Estimated data)
Apple's Engineering Challenges
Apple's entry into the foldable market is not without its hurdles. The company is known for its high standards in product quality and user experience, which adds layers of complexity to the development of a foldable device.
Mechanical Challenges
The hinge mechanism and display durability are primary concerns. Apple's design philosophy demands a seamless user experience, which means any folding action must feel natural and smooth. Achieving this requires precision engineering and advanced materials, as PCMag discusses.
Software Integration
Apple's iOS will need significant adjustments to handle the dynamic nature of a foldable screen. This includes ensuring apps run smoothly in both folded and unfolded states and optimizing battery usage across different configurations.
Supply Chain Complications
Reports indicate that component suppliers have been informed of delays. This could affect the availability of specific components like OLED panels and hinge parts, potentially impacting Apple's production timeline, as noted by Geeky Gadgets.

Potential Solutions and Innovations
Apple has a history of overcoming engineering challenges through innovation. Here are some potential solutions the company might explore:
Advanced Materials
Using more robust materials for the hinge and display can enhance durability. Apple might leverage its expertise in materials science to develop proprietary solutions, as suggested by AppleInsider.
Improved Hinge Design
Developing a hinge that offers both durability and a seamless folding experience is crucial. Innovations in this area include multi-link hinges and novel materials like liquid metal alloys, as highlighted by MSN.
Software Enhancements
iOS updates could include features specifically designed for foldable devices, such as split-screen multitasking and adaptive interfaces that adjust based on screen configuration.


The hinge mechanism and display durability are the most critical challenges for Apple's foldable device, with high impact ratings. Estimated data.
Market Implications
The delay of Apple's foldable iPhone could have several implications:
Competitive Position
Apple risks falling behind competitors like Samsung and Huawei, who have already established themselves in the foldable market. However, Apple's focus on quality may ultimately deliver a superior product, as Tech Times suggests.
Consumer Expectations
Apple's loyal customer base expects innovation and reliability. Delays might test consumer patience but could also lead to a more refined product launch, as discussed in CNET.
Supply Chain Adjustments
Delays in production schedules affect not only Apple but also its suppliers, who must adjust their manufacturing timelines and capacity planning, as noted by Tech in Asia.

Future Trends in Foldable Technology
Despite current challenges, the foldable phone market is poised for growth. Here are some trends to watch:
Increased Adoption
As technology matures, foldable phones will likely become more mainstream, offering new experiences in mobile computing and gaming, as highlighted by Android Authority.
New Use Cases
Foldable technology opens doors to innovative use cases, such as immersive AR experiences and advanced multitasking capabilities, as discussed in Mashable.
Environmental Considerations
Sustainability will play a role in future foldable device development, with companies focusing on eco-friendly materials and energy-efficient designs, as noted by Wired.

Recommendations for Apple
To navigate these challenges, Apple should consider the following strategies:
Collaboration with Experts
Partnering with industry leaders in materials science and hinge technology can accelerate development and ensure high-quality outcomes, as suggested by AppleInsider.
Incremental Testing
Conducting extensive testing phases will help identify and resolve potential issues before mass production, ensuring a smoother launch process, as highlighted by MSN.
Transparent Communication
Keeping consumers informed about progress and challenges builds trust and manages expectations effectively, as noted by Reuters.
Conclusion
Apple's journey into the foldable smartphone market is a testament to the complexities of cutting-edge technology. While delays are inevitable, they also offer opportunities for refinement and innovation. By addressing engineering challenges and leveraging its strengths in design and software, Apple can still make a significant impact in the foldable phone arena.
FAQ
What are the main challenges in developing a foldable iPhone?
The primary challenges include creating a durable display and hinge mechanism, optimizing software for different screen configurations, and managing supply chain logistics, as discussed in Geeky Gadgets.
How does Apple's delay affect its position in the foldable market?
While the delay may temporarily affect Apple's competitive edge, it also allows the company to refine its product and potentially offer a superior user experience, as noted by CNET.
What innovations can we expect from Apple's foldable iPhone?
Potential innovations include advanced hinge designs, improved materials for durability, and software features tailored for foldable screens, as highlighted by Mashable.
Are foldable phones the future of smartphones?
Foldable phones represent a significant trend in the smartphone industry, offering new possibilities for multitasking and user interaction. However, widespread adoption will depend on overcoming current technical challenges, as discussed in Android Authority.
How can Apple ensure the success of its foldable iPhone?
Apple can focus on extensive testing, collaborate with industry experts, and maintain transparent communication with consumers to ensure a successful launch, as suggested by AppleInsider.
What are the environmental implications of foldable technology?
Foldable devices require materials that can withstand repeated folding, which may impact sustainability. Companies are exploring eco-friendly alternatives to address these concerns, as noted by Wired.

Key Takeaways
- Apple's foldable iPhone faces delays due to engineering challenges, as reported by Reuters.
- Hinge mechanism and display durability are major hurdles, as noted by Tech Times.
- Advanced materials and hinge design could offer solutions, as highlighted by Mashable.
- Delays may impact Apple's competitive stance in the foldable market, as discussed in CNET.
- Foldable technology is poised for growth with new use cases, as noted by Android Authority.
- Environmental sustainability is a key consideration in foldable device development, as discussed in Wired.
- Software optimization is crucial for seamless user experience on foldable screens, as highlighted by AppleInsider.
Related Articles
- Apple's Most Pivotal Product in Its First 50 Years: A Deep Dive [2025]
- Iranian Hackers: Cold War Tactics and Digital Deceptions [2025]
- A New Era for TV Enthusiasts: The First High-End TV with DisplayPort and 4K 180Hz Support [2025]
- Navigating Your Day with Gemini in Google Maps: A Hands-On Experience [2025]
- Why the 2025 iPad is a Game Changer: A Comprehensive Guide
- Apple: Redefining Personal Computing at 50 [2025]
![Apple's Foldable iPhone: Engineering Challenges and Future Outlook [2025]](https://tryrunable.com/blog/apple-s-foldable-iphone-engineering-challenges-and-future-ou/image-1-1775549064400.jpg)


