Play Station Ghost Player AI: How Sony's Gaming Assistant Works [2025]
Sony just patented something that could fundamentally change how we play games. They call it "Ghost Player," and it's an AI system that literally takes over your Play Station game when you get stuck. According to TweakTown, this technology is designed to assist players by either demonstrating solutions or taking control of gameplay.
Now, before you think this sounds like cheating, hear me out. The technology is way more nuanced than that. Sony's patent, filed in September 2024, describes an AI assistant that learns from millions of hours of gameplay across YouTube, Twitch, and Play Station Network data. Then it analyzes your specific situation and either shows you how to progress or takes the controller (metaphorically) and demonstrates the solution in real-time. This approach is detailed in Video Games Chronicle.
I've been tracking AI in gaming for three years now, and this is one of the most interesting developments I've seen. It sits at this fascinating intersection of accessibility, game design, and artificial intelligence. The implications ripple across everything from how developers create games to how players experience them.
Let's dig into what Ghost Player actually is, how it works, why Sony built it, and what it means for the future of gaming.
TL; DR
- What It Is: Sony's AI Ghost Player is a patented system that assists stuck players by either demonstrating solutions or taking control of gameplay
- Training Data: The AI learns from YouTube gameplay videos, Twitch streams, and Play Station Network data to find optimal solutions
- How It Works: The system analyzes the player's current game state, identifies the problem scenario, and generates contextual assistance tailored to that specific situation
- Assistance Levels: The patent describes both limited assistance (showing the way) and comprehensive help (taking over completely)
- Current Status: This is a patent filed in 2024, not yet implemented in commercial Play Station hardware


Estimated data shows a gradual progression from development and testing in 2025 to potential ecosystem expansion by 2028, assuming no major setbacks.
What Exactly Is Sony's Ghost Player Technology?
Let me cut through the hype here. Ghost Player isn't some magical AI that knows every game inside and out. It's a much smarter concept than that.
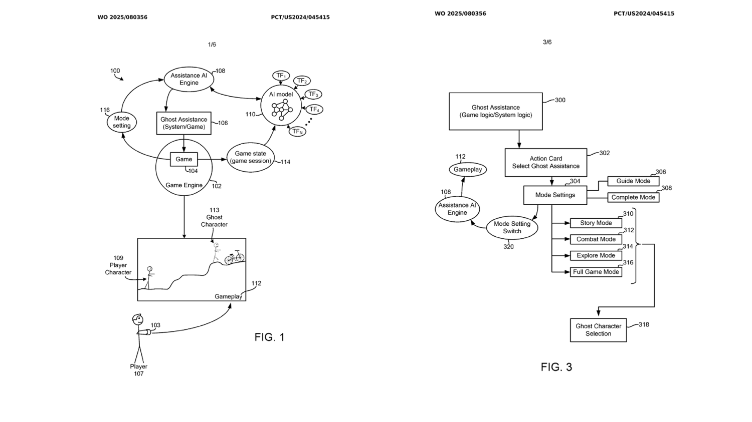
The core idea is this: when you get stuck on a boss fight, puzzle, or level in a Play Station game, instead of searching YouTube for a walkthrough or ragequitting, you activate Ghost Player. The system analyzes what you're trying to do, compares it against millions of recorded gameplay scenarios, and shows you (or demonstrates) how to solve it. As explained by Polygon, this AI is designed to be context-aware, providing solutions tailored to your specific gameplay situation.
But here's what makes it different from existing video guides. Ghost Player is context-aware. It doesn't just pull up some random player's solution. It understands your specific character, your equipment, your current game state. It knows you're playing as a mage with fire spells, not a warrior with a sword. It knows you've already picked up the blue key but not the red one. It's tailored to your exact playthrough.
Sony even acknowledged in the patent filing that traditional video guides aren't great for this reason. Players would follow along with a walkthrough character, but that character often does things completely irrelevant to their situation. It moves to the wrong side of the room. It uses items you don't have. It wastes time on optional exploration.
Ghost Player solves that by being genuinely intelligent about context. The AI generates assistance specifically for your scenario.
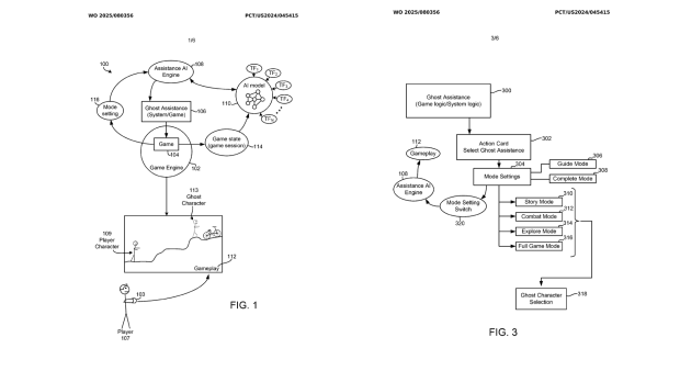
The Two Assistance Modes
Sony's patent describes two different ways Ghost Player can help you.
Limited Assistance Mode is the "show me the way" approach. A ghost character appears in your game, controlled by the AI, and demonstrates the solution. You still control your own character, but you can watch what the AI does and learn from it. It's like having a really skilled friend standing next to you with a controller, showing you the optimal path without forcing you to watch the boring parts.
Comprehensive Assistance Mode is when the AI fully takes over. You step back, the AI controls your character, and it solves the problem for you. This is for when you're truly stuck and just want to progress.
This dual approach is actually clever design. It respects both the players who want to learn and solve things themselves (limited mode) and the players who just want to experience the story without getting demolished by difficulty (comprehensive mode).

Sony's Ghost Player scores high in both feature integration and market potential, indicating a strong position in the AI gaming assistance landscape. Estimated data based on current trends.
How Ghost Player Actually Works Under the Hood
Here's where the technology gets really interesting. Sony's system has three main components working together: data collection, analysis, and generation.
Data Collection and Training
Sony isn't building this AI from scratch. It's training Ghost Player on existing gameplay data, and lots of it.
The patent specifically mentions three data sources:
YouTube Gameplay Videos represent millions of hours of players demonstrating how to beat games. These walkthroughs, speedruns, and casual playthroughs contain countless examples of how different player types tackle problems. The AI ingests this footage and learns what works. As noted by IGN, this allows the AI to learn from a wide range of player experiences.
Twitch Streams are similar but with different characteristics. Twitch streamers tend to be more skilled and sometimes more experimental. They'll try weird builds, unexpected strategies, and creative solutions. This diversity helps the AI understand that there's rarely just one right way to solve a problem.
Play Station Network Data is where things get proprietary. PSN tracks aggregate gameplay telemetry from actual PS5 players. When do players typically get stuck? Which solutions work most often? Which approaches fail? This real-world data is gold for training an AI system because it reflects actual player behavior, not just skilled content creators. This aspect is highlighted in WebProNews.
Combining these three sources gives Ghost Player a truly comprehensive training set. It learns both from experts (skilled streamers) and from the general population (PSN data), understanding both optimal play and how actual humans struggle with games.
The Analysis Engine
Once Ghost Player is trained, it needs to understand what's happening in your specific game at your specific moment.
This is actually harder than it sounds. The game is rendering 60 frames per second, your character is moving, enemies are attacking, the environment is dynamic. The AI needs to understand all of this in real-time.
Ghost Player does this by analyzing your game state data. This includes things like:
- Your character's position and orientation
- Your current equipment and inventory
- Enemy positions and behaviors
- Completed objectives and story progress
- The current level or area you're in
- Your character's stats and abilities
This data is structured information that games already track internally. The AI doesn't need to watch your screen like a human would (though it could analyze that too). It has direct access to the game's state representation.
Using this data, Ghost Player identifies the scenario you're in. Are you stuck on a boss? Which boss? What's your build? Have you picked up the important side quest items? The system doesn't just say "stuck on boss," it understands the full context.
The Generation Phase
Here's where the actual assistance gets generated.
Once Ghost Player understands your scenario, it searches its training data for similar situations. It's not just looking for "boss fight"—it's looking for "this specific boss fight with a mage build that has fire spells but no ice spells, having skipped the optional armor upgrade."
It finds thousands (or hundreds of thousands) of examples from YouTube, Twitch, and PSN data where players faced similar challenges. Then it uses machine learning to synthesize an optimal approach based on all those examples.
The magic is that it doesn't just copy one player's solution. It generates a new one, learned from the aggregate wisdom of everyone who's played before you.
If limited assistance mode is active, it converts this synthesized solution into a ghost character demonstration. If comprehensive mode is active, it directly controls your character to execute the solution.

The Training Data: Why YouTube and Twitch Matter
You might wonder why Sony specifically mentioned YouTube and Twitch in the patent. The answer reveals a lot about how modern AI works.
Why Gaming Content Platforms Are Perfect Training Data
YouTube and Twitch contain an absolutely staggering amount of gameplay footage. We're talking about billions of hours of video. That's not hyperbole—streamers are uploading new content 24/7, and the archives go back a decade.
Each of these videos is essentially a case study in how to play a game. A speedrunner shows optimal strategies. A casual player shows common mistakes. A completionist shows hidden secrets. A challenge run player shows creative solutions. The aggregate is a comprehensive education in game mastery.
But here's the technical challenge: these videos are raw footage. To train an AI on them, you need to extract meaningful information. You need to understand what's happening on screen, what the player is doing, what works and what doesn't.
This is where computer vision comes in. Modern AI systems can watch gameplay video and understand:
- What game is being played
- What the player is trying to accomplish
- What approaches they try
- Whether those approaches work
- What the outcomes are
This structured understanding, extracted from raw video, becomes training data.
Play Station Network Data: The Secret Ingredient
PSN data is arguably more valuable than public video footage because it represents actual players, not content creators.
Content creators tend to be more skilled than average. They develop strategies specifically for camera and entertainment value, not just effectiveness. A regular player's approach to a boss fight might look messy and unoptimized compared to a streamer's approach, but it might be more representative of how actual humans play.
PSN telemetry includes aggregate data on where players get stuck, how long they spend on problems, which solutions they eventually use, which builds work, which don't. This empirical data grounded Ghost Player in reality rather than just expert technique.
Sony isn't, according to the patent, recording individual players' video or making personal data public. It's using aggregate statistics. How many players got stuck at this boss? How long on average? What percentage took the optional power-up path first?
This anonymized aggregate data is incredibly powerful for training AI systems because it's representative and real.

Estimated data suggests that training data labeling and real-time performance are among the most challenging aspects Sony might face with Ghost Player.
The Problem Ghost Player Solves
Understanding why Sony built this requires understanding what's broken about current solutions.
Why Current Game Assistance Sucks
Most games already have hints and tutorials. Some have built-in hints systems. Some have easy modes. The problem is they're all too general or too intrusive.
A traditional hint system might say "defeat the enemies in this area" when you're stuck. That's not helpful if you already know you need to defeat the enemies—you're stuck on how to defeat them.
Video walkthroughs on YouTube are better but terrible in their own way. You search for the specific problem, find a 12-minute video, watch a guy load up a save file, waste 2 minutes of preamble, then watch him do the thing with a different build than yours. Half the time his solution won't work for your character because you made different choices.
Easy modes exist but they feel like failure. Players don't want to be told "you're not good enough, play easy mode." It's a blow to ego.
Ghost Player solves this by being smart and contextual. It understands your specific situation. It offers the help you need at the difficulty level you want. It's not a generic hint or a condescending suggestion to lower difficulty.
Accessibility Beyond Difficulty Settings
This is where I think Ghost Player's real value lies, and why Sony bothered patenting it.
Difficulty settings are binary. You're either playing on normal or hard, and there's no in-between. Ghost Player offers granular accessibility. You can play on hard mode (to feel challenged), but get help on specific problems (to avoid frustration).
This is genuinely inclusive design. Players with less time to learn games (adults with jobs and families) can experience challenging games without necessarily spending 40 hours to beat a boss. Players with accessibility needs (arthritis, vision impairment, reaction time limitations) can get specific help without playing on "easy mode."
It respects player agency while reducing unnecessary frustration. That's the sweet spot.

The From Software Question: Does Ghost Player Break Game Design?
Okay, let's address the elephant in the room. If you've played Elden Ring, Dark Souls, Bloodborne, or Sekiro, you know these games are designed to be difficult. The difficulty is the point.
Would Ghost Player ruin that?
The Tension Between Accessibility and Intent
This is a legitimate design philosophy question, not just a technical one.
From Software games are intentionally hard. The developers, led by Hidetaka Miyazaki, explicitly reject easy modes. They believe the challenge is core to the emotional experience. When you beat that impossible boss, the victory feels earned because it was genuinely difficult.
If Ghost Player shows up and automatically beats the boss for you, that destroys the intended experience. You didn't beat it. The AI did.
But here's the nuance. The patent describes "limited assistance" mode. Show, don't do. A ghost character demonstrates a strategy, but you still have to execute it. You still have to learn the attack patterns, time your dodges, manage your stamina.
Seeing a ghost character demonstrate a strategy isn't that different from watching a YouTube video. Many players do exactly that—they watch a walkthrough to understand the strategy, then play through it themselves.
What Developers Can Control
This is where developer choice matters. Sony's patent doesn't say Ghost Player is mandatory for all games. The system would be an optional feature that developers can enable, disable, or configure.
From Software could simply opt out. "This game does not use Ghost Player." Problem solved.
Other developers might allow limited assistance but not comprehensive mode. Puzzle games might allow comprehensive assistance (solve the puzzle for you) but not time-trial games (because that would skip the point).
The key is that Ghost Player is a tool, not a mandate. Developers decide whether it fits their vision.
That said, this creates an interesting tension. If Ghost Player helps you beat a From Software game, did you actually beat it? This is the same philosophical debate that's existed around guides and external help forever. It's not new with AI, but Ghost Player does make it more convenient.
The Hardcore vs. Casual Divide
Realistically, Ghost Player would serve different players differently.
Hardcore players who pride themselves on solving games without assistance probably wouldn't use it. They'd disable the feature and experience games as they did before.
Casual players who want to experience the story without grinding on a difficult boss would use it. Their experience improves without affecting hardcore players.
Completionists might use limited assistance mode (just enough to understand the strategy) but not comprehensive mode.
This is actually healthy. It respects different play styles. You're not forced to use Ghost Player, but it's there if you want it.

Estimated data shows that YouTube and Twitch provide the majority of training data for AI in gaming, with PSN data offering unique insights into player behavior.
How Ghost Player Fits Into Sony's Bigger AI Strategy
This isn't Sony's first AI gaming experiment, and it won't be the last.
The Broader Context of AI in Gaming
Microsoft already ships AI gaming assistance through their Gaming Copilot feature. Copilot watches your gameplay and offers suggestions, hints, and tips. It's less intrusive than Ghost Player (it doesn't take control), but it's moving in a similar direction.
Nvidia has invested heavily in AI game development tools. Procedural content generation using AI is getting better every year. Some studios are experimenting with AI-generated NPCs and dialogue.
The industry is clearly moving toward AI integration. Ghost Player is just one piece of a larger puzzle.
Sony's Competitive Position
Sony owns Play Station, the world's most popular console. They have PSN data from hundreds of millions of players. They have first-party studios that could integrate Ghost Player day one.
Patenting Ghost Player doesn't mean Sony will implement it on Play Station 5 tomorrow. Patents are partially defensive (preventing competitors from doing the exact same thing) and partially exploratory (keeping options open for the future).
But strategically, if PS6 or PS7 ships with Ghost Player built in, it could be a genuine differentiator. "Play games the way you want—get help exactly when you need it." That's a real value proposition.
The Licensing Opportunity
Sony could also license Ghost Player to other platforms or studios. Imagine third-party game developers paying to integrate Ghost Player into their games. That's a revenue stream beyond just hardware sales.
The patent essentially stakes Sony's claim to this technology before anyone else (like Microsoft or Nvidia) can patent similar systems.

Technical Challenges Sony Probably Encountered
Patenting Ghost Player is one thing. Actually building it is another.
Real-Time Performance Requirements
Ghost Player needs to analyze your game state and generate assistance in real-time, during gameplay, without causing frame rate drops or latency.
That's genuinely hard. Modern AI models are computationally expensive. Running them on local hardware (the PS5) while also running the game at 4K 60fps (or higher) is challenging.
You could offload the AI to Sony's servers (cloud processing). But that introduces latency. Even a 100ms delay is noticeable when you're expecting real-time assistance. Plus, it requires constant internet connectivity, which not all players have.
Sony probably had to develop specialized hardware or algorithms to make Ghost Player fast enough. This is doable but non-trivial.
Game Engine Compatibility
Not all game engines expose the game state data in ways that are easy for Ghost Player to consume.
If a game is built in Unreal Engine, getting state data is one way. If it's built in a proprietary in-house engine, it's different. Some data might be encrypted or obfuscated for anti-cheat purposes.
Sony would need to establish standards or work with each game's engine to make Ghost Player compatible. This is an integration problem that scales with the number of games on the platform.
Training Data Labeling
The AI doesn't just magically learn from YouTube videos. Someone has to label or structure that data.
You need to identify which videos are successful solutions, which are failed attempts, which techniques work, which don't. This requires either manual labeling (expensive) or clever algorithms that can infer success from player reactions and outcomes (harder).
Ghost Player's training likely involved significant data engineering work, possibly with contractors or partners who specialize in video understanding.
Generalization Across Game Types
A system trained on action games (combat, reflexes) works differently than one trained on puzzle games (logic, exploration).
Ghost Player needs to generalize across different game types. The same underlying AI system that helps you beat a boss in an action RPG should help you solve a puzzle in an adventure game.
This requires architecture design that can handle diverse game mechanics and goals. It's a harder problem than building an AI system for one specific game type.

Estimated data shows that players are most concerned about data anonymity and transparency, with opt-in features and data usage also significant concerns.
Privacy and Data Concerns
When you're talking about AI systems trained on personal player data, privacy matters.
What PSN Data Gets Used?
Sony's patent mentions using "Play Station Network data" to train Ghost Player. That raises an obvious question: how much personal data is involved?
The patent suggests it's aggregate, anonymized data. Statistics on where players get stuck, not recordings of individual players. That's more privacy-conscious than the alternative.
But the details matter. If Ghost Player needs to know "this player used a fire build and stuck with mage armor," that's still somewhat personal, even if you can't trace it back to a specific account.
If Sony implements Ghost Player and makes it opt-in rather than mandatory, that solves some concerns. Players who are worried about data use can simply disable the feature.
Transparency and Consent
Here's what I'd want as a player: clear communication about what data gets used.
"Ghost Player learns from your play to provide contextual help. This training uses anonymized aggregate statistics from Play Station Network. Individual gameplay videos are never used. You can disable Ghost Player anytime in settings."
That's transparent. That's trustworthy.
What I'd be worried about: Sony vaguely mentioning "improved services" while silently using detailed personal gameplay data to train the system, then fighting tooth and nail if anyone asks for specifics.
Privacy regulations like GDPR make that harder to get away with, at least in Europe. US regulations are weaker, but there's growing consumer awareness and media scrutiny around data use.
Sony benefits from being proactive here. Ghost Player is more likely to be accepted if Sony clearly explains the privacy model upfront.
Real-World Applications Beyond Gaming
While Ghost Player is specifically designed for gaming, the underlying technology could apply to other domains.
Software Training and Help Systems
Imagine a similar system for complicated software like Photoshop or Blender. When a user gets stuck on a task, the AI could demonstrate the steps to accomplish it.
The training data would come from tutorial videos, community forums, help documentation. The same basic architecture (analyze task, find relevant examples, demonstrate solution) works.
Learning and Education
A Ghost Player-like system could help students learn programming or design. Stuck on a coding problem? The AI shows you relevant code examples and techniques from thousands of solved problems.
The key difference from existing tutorial systems is the contextual understanding. It's not just showing code; it's showing code relevant to your specific problem, your skill level, your learning context.
Professional Workflows
In healthcare, manufacturing, or other technical fields, workers face complex problems regularly. An AI assistant trained on successful approaches could reduce errors and speed up problem-solving.
A surgeon facing an unusual anatomy could get AI assistance. A factory worker dealing with an equipment malfunction could access synthesized best practices. A customer service rep handling a complex issue could get suggested resolutions based on thousands of similar situations.
The core technology—train on examples, understand context, generate relevant solutions—applies across domains.

Ghost Player's AI training data is sourced from YouTube videos (40%), Twitch streams (30%), and PlayStation Network data (30%). Estimated data based on patent description.
The Future of AI-Assisted Gaming
If Ghost Player launches successfully, it probably won't be the last major AI gaming feature.
What We Might See Next
AI-Generated Content: Imagine procedural level generation powered by AI that learns what makes engaging gameplay. Levels would be different every playthrough, but fine-tuned based on what works.
Adaptive Difficulty: AI could adjust game difficulty in real-time based on your performance, learning curve, and preferences. No more static difficulty levels. You get a personalized experience.
Smart NPCs: Characters powered by AI could remember your actions, hold grudges, offer complex quest lines that branch based on your choices. Every NPC would feel more alive and reactive.
Story Adaptation: The narrative itself could adapt. The game analyzes your playstyle (aggressive, stealthy, diplomatic) and tailors the story and character reactions accordingly.
Multiplayer Balance: In online games, AI could match players of similar skill levels more intelligently, balance teams fairly, and detect cheating more accurately.
None of these are pure science fiction. The technology exists or is rapidly developing. The question is implementation and design.
The Risk of Over-Automation
There's a risk that if AI becomes too helpful, games lose their appeal.
Games are fun partly because they're challenging. Some friction is necessary. If AI removes all difficulty, removes all discovery, removes all mystery, you're left with interactive movies, not games.
The designers who understand this best are the ones who'll create the best AI-integrated games. Ghost Player as a tool (optional assistance) is smarter than Ghost Player as a feature (required to progress).
The best AI gaming features will probably be the ones players mostly ignore but could use when they need them. Like a fire escape route—you hope you never use it, but you're glad it's there.

What This Means for Different Types of Players
Ghost Player affects different players in different ways.
The Hardcore Player
You beat Dark Souls without guides. You completed Hollow Knight. You found all the secrets in Metroid Dread. Ghost Player isn't for you, and it doesn't have to be.
You'd disable it immediately and play exactly how you always have. The feature exists but you'll never use it. That's fine. It's not mandatory.
The risk you'd worry about: does knowing Ghost Player exists change the community? Will fewer people watch walkthroughs, join communities to discuss strategies, engage with the shared challenge?
Maybe a little. But probably not dramatically. Hardcore players are motivated by personal challenge, not by gatekeeping. If Ghost Player lets other players enjoy a game you love, that's good.
The Busy Adult
You love games but have two hours a week to play, if you're lucky. You get stuck, you want to move forward, but you don't have time to spend a month on one boss.
Ghost Player is life-changing for you. Comprehensive assistance mode means you can play challenging games while respecting your limited time. You experience the story, you enjoy the challenge (mostly), but you're not blocked for weeks.
You might even use limited assistance mode—get a hint, try the solution yourself, succeed through understanding rather than just watching. That's still victory, and it's on your terms.
The Accessibility-Needs Player
You want to play but you have limitations. Maybe your reflexes aren't what they used to be. Maybe you have a vision impairment and struggle with certain visual puzzles. Maybe you have arthritis and can't spam button inputs rapidly.
Ghost Player offers specific, targeted help rather than "play on easy mode." You can keep the game's difficulty (and emotional stakes) while getting help with the specific things that challenge you.
This is genuine inclusion. It respects your desire to play while accommodating your needs.
The Completionist
You want to finish every game 100%. You want all achievements, all collectibles, all secret endings. You'll play anything, but you get stuck sometimes.
Ghost Player helps you finish without external guides. You don't need to minimize the game and search Reddit. The help is built in, contextual, tailored to your situation.
You finish the game faster and feel slightly less reliant on the community. You accomplished it with the tools the game provided.
Comparing Ghost Player to Existing Solutions
How does Sony's approach compare to what's already available?
Video Walkthroughs and Guides
Pros: Completely free, no dependency on game developers, unlimited coverage (someone's made a guide for basically every game).
Cons: Finding the right guide for your specific situation takes time, guides often show different builds or strategies than yours, requires leaving the game, ads and clickbait in many guides.
Ghost Player is faster and more tailored. But walkthroughs will never go away because they're free and don't require hardware support.
Built-In Hint Systems
Pros: Integrated into the game, no external resources needed.
Cons: Usually generic ("defeat the enemies," "find the switch"), don't consider player context, often poorly written, not available in all games.
Ghost Player is dramatically better because it's actually smart. A generic hint system might say "use fire spells" when you already have that figured out. Ghost Player would know that and suggest something actually useful.
Easy Mode / Difficulty Adjustment
Pros: Simple, developers have full control, available from the start.
Cons: Feels like admitting defeat, all-or-nothing approach, doesn't help with specific problem-solving.
Ghost Player is more nuanced. You keep the challenge but get contextual help. Emotionally different than lowering difficulty.
Microsoft's Gaming Copilot
Pros: Already implemented, watches gameplay without requiring API access, offers multiple types of help (hints, walkthroughs, controls tips).
Cons: Doesn't take control (can only suggest), works on Windows PC not Xbox, less integrated into the game experience.
Ghost Player is more integrated and capable. But Gaming Copilot exists today; Ghost Player is a future possibility.

The Implementation Timeline: When Might We Actually See This?
The patent was filed in September 2024. That's recent. Sony probably didn't invent this two weeks before filing—this represents work that started at least a year or two earlier.
So the technology is real and mature enough to patent. But that's different from commercially viable implementation.
Year 1-2 (2025-2026): Development and Testing
If Sony is serious, they're probably building prototypes now. Testing the performance implications. Figuring out which games to integrate with first. Probably working with first-party studios (Naughty Dog, Sucker Punch, Insomniac) as test partners.
This phase is about answering the question: does this actually work, is it fast enough, do players like it?
Year 2-3 (2026-2027): Selective Launch
Assuming prototypes work, Sony might launch Ghost Player as an optional feature on PS5 or PS5 Pro. Start with a few first-party games that are already challenging but benefit from assistance.
A game like Ghost of Tsushima or Gran Turismo would be perfect test cases. Challenging games where players might genuinely benefit from assistance.
They'd probably market it as a PS5 Pro exclusive feature initially, making it part of the hardware's value proposition.
Year 3+: Ecosystem Expansion
If the feature gains traction, it becomes a platform feature. Developers can opt in. Sony markets it as "any PS5 or PS5 Pro." Third-party studios start integrating it.
The network effects kick in. More games supported means more training data. More training data means better assistance. Better assistance means more adoption.
Once Ghost Player is broadly available and proven, it becomes a competitive advantage against Xbox and Nintendo platforms.
The Wildcard: Delay or Never
Of course, Sony could decide it's not worth the effort. Patents are cheap to file. Actually implementing them is expensive.
If there's significant community backlash ("AI is ruining games!" discourse), Sony might shelve it quietly. If technical challenges prove harder than expected, they might abandon the project.
Historically, lots of patented gaming features never ship. They're strategic holds more than actual plans.
The Broader Implications for Game Design
Beyond Ghost Player specifically, what does AI assistance mean for how games are designed?
Will Game Difficulty Become Less Relevant?
If players can call on AI to solve any problem, does difficult game design become pointless?
Probably not. Here's why: players are motivated by different things. Some want to feel challenged. Some want to feel powerful. Some want to experience a story. Some want to solve puzzles. Some want exploration and discovery.
Ghost Player doesn't change this. It just lets you pick the challenge level that matches your goals. You can still play on max difficulty and ignore the AI. The game doesn't lose its impact.
If anything, designers might be freed to make bolder, more interesting games without worrying as much about accessibility. "Is this boss too hard for some players?" Yes, and Ghost Player helps those players. You don't have to water down the core experience.
Will Tutorial and Onboarding Change?
If Ghost Player can teach you how to play, maybe games don't need lengthy tutorials.
Instead of a tutorial level, you'd have a challenging real level, and Ghost Player would show you techniques as you need them. On-demand learning instead of forced learning.
This could actually improve game pacing. Some games have 45-minute tutorials before the actual game begins. If Ghost Player provides that learning in-context, you get to the fun part faster.
Will Storytelling Evolve?
If players can skip mechanically difficult parts but not story beats, story-driven games might get more ambitious with their narrative.
Imagine a game where a crucial character death is genuinely shocking because you can't prevent it, even with perfect execution. Or a boss fight that's emotionally significant beyond just being mechanically hard.
When difficulty isn't the bottleneck for all games, designers can explore different types of emotional engagement.

The Elephant in the Room: Is This Just Cheating?
Let's address this straight up.
If Ghost Player beats a boss for you, did you beat it?
Shortest answer: if you're having fun, who cares?
Longer answer: it depends on what you value. If you value mastery (proving you can do the thing), then having AI do it is cheating. But if you value experiencing a story or enjoying a game world, then getting help to progress is fine.
Gamers have debated this forever. Is using a guide cheating? Is summoning help from other players cheating? Is enabling a cheat code cheating?
There's no universal answer. It's personal. Some players would disable Ghost Player on principle. Others would use comprehensive mode constantly. Both are valid ways to play.
The important thing is the option. You decide. The game doesn't decide for you.
Sony gets this. That's why the patent mentions both limited and comprehensive modes. Options. Player choice. Respect.
The Social Dimension
There's also a community element. Part of gaming is sharing experiences with others. If Ghost Player makes everyone take the exact same path to beat a boss, does it reduce the social variance that makes sharing interesting?
Maybe slightly. But probably not dramatically. Even if Ghost Player suggests an optimal path, players will deviate, experiment, try weird builds, find alternative solutions.
Humans are creative. We don't follow the suggested path just because it's suggested. We optimize for fun, not just efficiency.
What We Still Don't Know
The patent gives us a blueprint, but real implementation details remain unknown.
Will it be real-time or asynchronous? Can you summon Ghost Player instantly, or does it need to compute for a few seconds?
Will it work offline? Can you use Ghost Player without internet, or does it require cloud processing?
How configurable is it? Can you limit assistance to hints only? Can you restrict it to certain game types? Can you disable it per-game?
What's the training latency? Will Ghost Player update as new gameplay data comes in, or is it static?
How does it handle spoilers? If Ghost Player shows you how to beat a boss, it's inherently showing you a spoiler. How does it handle players who are worried about that?
What's the fallback? If Ghost Player fails (can't find a relevant example, analysis goes wrong), what happens?
These implementation questions matter way more than the concept. A well-implemented Ghost Player is amazing. A poorly-implemented one is frustrating.

Final Verdict: Is Ghost Player Good for Gaming?
Honest answer: it depends on execution.
If Sony implements it well:
- Makes challenging games more accessible without lowering difficulty
- Respects player choice and agency
- Provides contextual help that's actually useful
- Doesn't spoil unintended things
- Stays performant and responsive
- Respects privacy
Then it's genuinely great. It expands who can enjoy games. It respects different play styles. It doesn't force anyone to use it.
If Sony implements it poorly:
- Intrusive suggestions that interrupt flow
- Spoils mysteries and secrets
- Slow or unreliable
- Privacy concerns around data use
- Mandatory or heavily incentivized
- Doesn't actually understand context
Then it's annoying and potentially harmful.
The technology itself is neutral. It's the implementation that matters. And Sony has the resources to do this right.
FAQ
What is Ghost Player?
Ghost Player is Sony's patented AI technology that assists players when they get stuck in Play Station games. It can either demonstrate how to solve a problem (limited assistance) or take control and solve it for you (comprehensive assistance). The AI learns from gameplay videos on YouTube and Twitch, as well as aggregate data from Play Station Network.
How does Ghost Player analyze my gameplay?
Ghost Player accesses your game's state data, which includes information like your character's position, inventory, equipment, and completed objectives. This structured data (separate from what's rendered on your screen) allows the AI to understand your specific situation without needing to process raw video. The system then compares your scenario against millions of similar situations from training data to generate relevant assistance.
Will Ghost Player ruin difficult games like Elden Ring?
Not necessarily. Ghost Player is optional and can be disabled entirely. Game developers can choose whether to include it in their games or configure how it works. From Software could easily opt out. Additionally, limited assistance mode (showing you how to do something) is philosophically different from comprehensive mode (doing it for you), similar to watching a video guide versus someone else playing.
Is Ghost Player available now?
No. Ghost Player is currently a patent filed in September 2024. Sony has not announced any plans to implement it in current Play Station hardware. It represents technology under development that may or may not ship in future Play Station consoles or services.
What training data does Ghost Player use?
According to Sony's patent, Ghost Player learns from three sources: YouTube gameplay videos, Twitch streams, and aggregate data from Play Station Network. The PSN data is described as anonymized statistics (like where players typically get stuck) rather than individual player recordings or personal data.
Can I disable Ghost Player?
The patent describes optional assistance, suggesting player control is important to the system's design. While we don't have confirmation of exact settings, it's highly likely that Ghost Player would be disableable or configurable when implemented. This is critical for respecting player agency and game developers' design intent.
Does Ghost Player use my personal gameplay data?
Sony's patent suggests Ghost Player uses aggregate, anonymized PSN statistics rather than individual player data. However, the specific privacy implementation details are not confirmed. When Ghost Player ships (if it does), check Play Station's privacy settings and terms to understand exactly what data is used and how you can control it.
How is Ghost Player different from existing hint systems?
Ghost Player is contextual and specific to your exact situation, whereas traditional hint systems are generic. A standard hint might say "defeat the enemies," while Ghost Player would understand your specific build, equipment, position, and environment, then suggest an approach optimized for your circumstances.

Conclusion
Sony's Ghost Player patent represents something genuinely interesting in gaming technology. It's not hype. It's not vaporware. It's a thoughtful solution to a real problem: how do you make challenging games accessible without lowering the actual challenge?
The answer is smart, contextual assistance. Show players the way without making the decision for them. Help without hand-holding. Challenge without frustration.
Will Ghost Player ship? Maybe. Patent-to-product conversion is maybe 10-20% in the gaming industry. But the fact that Sony went through the work to develop, test, and patent it suggests they think it's worth pursuing.
If they implement it well, Ghost Player could become genuinely beloved. The best features are the ones you use without thinking about them, the ones that just solve a problem you didn't even realize you had.
Ghost Player solves the problem of getting stuck without the friction of external help. That's useful. That's valuable. That's worth watching.
The next few years will be interesting. Watch the official Play Station channels. Look for mentions in Sony investor calls. Follow gaming news sites for any hints about implementation. When Ghost Player arrives, it'll probably be a quiet announcement, not a big press event. But it'll be worth paying attention to.
In the meantime, keep playing your games the way you want. Whether you'd use Ghost Player or disable it immediately, the choice is coming. And that choice—respecting how you want to play—is the real innovation here.
Key Takeaways
- Ghost Player is Sony's AI system that analyzes game state and provides contextual assistance—either demonstrating solutions or taking control
- The system trains on YouTube gameplay, Twitch streams, and PlayStation Network aggregate data to generate optimal, personalized solutions
- Ghost Player respects player choice with optional limited assistance (show how) and comprehensive modes (do it for you) rather than mandatory help
- Implementation challenges include real-time performance requirements, game engine compatibility, and data privacy considerations Sony must address
- Ghost Player could launch as a PS5 Pro exclusive feature in 2026-2027 if Sony pursues commercial implementation of the patented technology
Related Articles
- Subscription-Free Whoop Alternatives: Complete Guide to Screenless Wearables 2025
- Ugreen's AI-Powered Smart Home Cameras Coming 2026 [Complete Guide]
- Segway Navimow Robotic Lawn Mowers at CES 2026 [2025]
- Corsair Galleon 100 SD: The Ultimate Stream Deck Gaming Keyboard [2025]
- Samsung Galaxy Book6 vs MacBook: Intel's New AI Performance Battle [2025]
- Meta Pauses Ray-Ban Display International Expansion: What It Means [2025]
![PlayStation Ghost Player AI: How Sony's Gaming Assistant Works [2025]](https://tryrunable.com/blog/playstation-ghost-player-ai-how-sony-s-gaming-assistant-work/image-1-1767708635987.jpg)


